Δίπλα σας από το 1973...

Δονητής κρουστικός FKL-100 in

Κρουστικός δονητής με μεταβλητή δύναμη και διάστημα

Ιδιότητες

  • Λειτουργία κρούσης μονής ή διαστήματος
  • Μεταβλητή δύναμη κρούσης και διάστημα
  • Δε χρειάζεται λίπανση
  • Ευρύ πεδίο εφαρμογών
  • Χρησιμοποιείται σε θερμοκρασία έως και 120 ° C

Εφαρμογές

Είναι ανθεκτικός σε ακραίες συνθήκες περιβάλλοντος. Ιδανικός για χτύπημα υλικών σε σιλό  και αγωγούς.

Πίεση bar Nm Ns vpm  Καταν. αέρα l mm
4    5 6,5   10-70 2,1-14,7    max 10 0,5-1,1 5

Δονητής κρουστικός FKL-100: Διατίθεται και σε ATEX μοντέλο για περιβάλλοντα με κίνδυνο έκρηξης.

Κωδικός προϊόντος: 4105.00 Κατηγορία:
apothema Άμεσα Διαθέσιμοparadosi Τεχνικά Χαρακτηριστικά
Ζητήστε μας προσφορά

Δονητής κρουστικός FKL-100

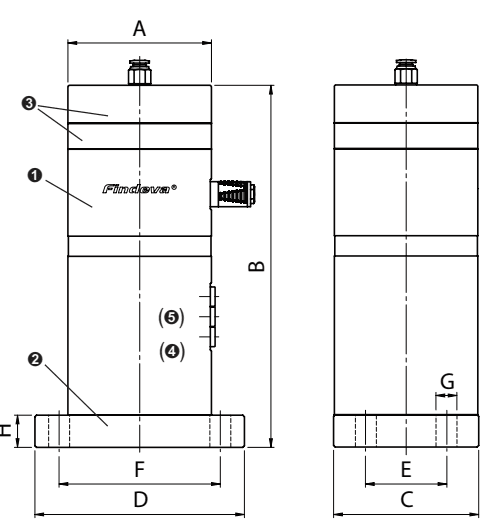
Διαστάσεις σε mm

A διάμετρος B C D E F G M N
89 242 90 130 50 100 13 224 13

Ακολουθήστε μας σε Facebook & Instagram

Βάρος 4,5 κ.
Σειρά

Εταιρία